Popis
Celoocelové, broušené strojní svěráky s přesností v ose 0,04 mm.
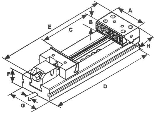
Všechny svěráky a příslušenství jsou stavebnicového systému a jakákoliv výměna Vám zaručuje naprostou souosost. Každý jednotlivý svěrák prochází před odesláním přísnou výrobní kontrolou. Z toho vyplývají tyto přednosti: - rychlé a přesné upnutí obrobku vzhledem k nástroji - opakované přesné upnutí - možný rovinný stavebnicový systém. Níže uvádíme technické parametry tohoto typu svěráku:
Všechny svěráky a příslušenství jsou stavebnicového systému a jakákoliv výměna Vám zaručuje naprostou souosost. Každý jednotlivý svěrák prochází před odesláním přísnou výrobní kontrolou. Z toho vyplývají tyto přednosti: - rychlé a přesné upnutí obrobku vzhledem k nástroji - opakované přesné upnutí - možný rovinný stavebnicový systém. Níže uvádíme technické parametry tohoto typu svěráku:
| A | B | C | D | E | F | G | H | I | Kg | |
|---|---|---|---|---|---|---|---|---|---|---|
| Rozměr [mm] | 100 | 30 | 100 | 270 | 320 | 35 | 75 | 77,9 | 16 | 6,8 |


