Popis
Celoocelové, broušené strojní svěráky s přesností v ose 0,04 mm.
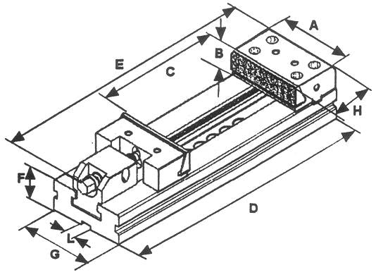
Všechny svěráky a příslušenství jsou stavebnicového systému a jakákoliv výměna Vám zaručuje naprostou souosost. Každý jednotlivý svěrák prochází před odesláním přísnou výrobní kontrolou. Z toho vyplývají tyto přednosti: - rychlé a přesné upnutí obrobku vzhledem k nástroji - opakované přesné upnutí - možný rovinný stavebnicový systém. Níže uvádíme technické parametry tohoto typu svěráku:
Všechny svěráky a příslušenství jsou stavebnicového systému a jakákoliv výměna Vám zaručuje naprostou souosost. Každý jednotlivý svěrák prochází před odesláním přísnou výrobní kontrolou. Z toho vyplývají tyto přednosti: - rychlé a přesné upnutí obrobku vzhledem k nástroji - opakované přesné upnutí - možný rovinný stavebnicový systém. Níže uvádíme technické parametry tohoto typu svěráku:
| A | B | C | D | E | F | G | H | I | Kg | |
|---|---|---|---|---|---|---|---|---|---|---|
| Rozměr [mm] | 200 | 65 | 300 | 595 | 680 | 70 | 170 | 113,4 | 16 | 69 |


