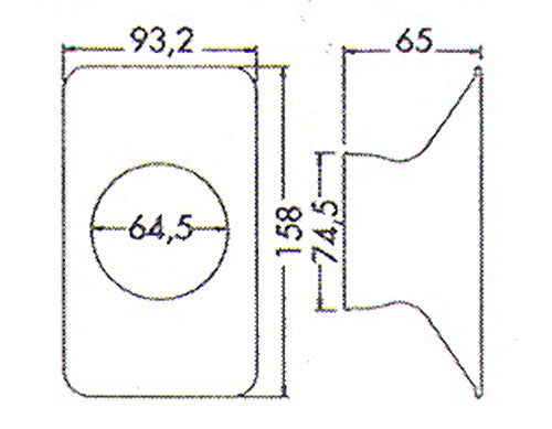
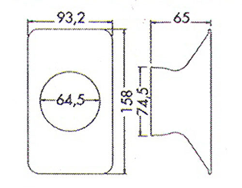
81204.1 - TRYSKA OBDELNÍKOVÁ


Cena:
Prodejní cena193,53 Kč bez DPH
Skladem:
Na skladě

Popis

2 1/2" obdelníková tryska

Rozměry trysky 15,24x8,89 cm.