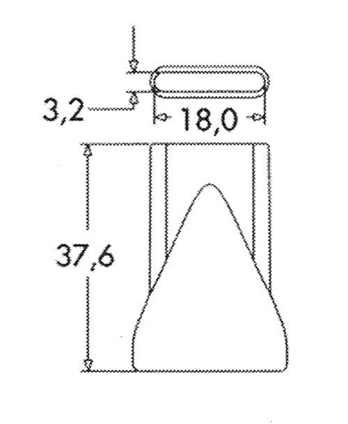
59891.1 - TRYSKA ŠTĚRBINOVÁ 3,18MM


Cena:
Prodejní cena52,33 Kč bez DPH
Skladem:
Na skladě

Popis

1/2" štěrbinová tryska 3,18 mm

Šířka štěrbiny 3,18 mm.