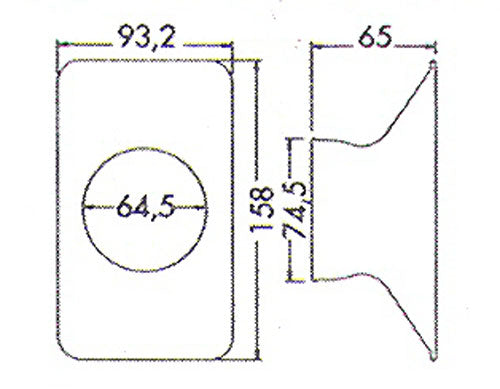
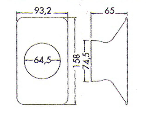
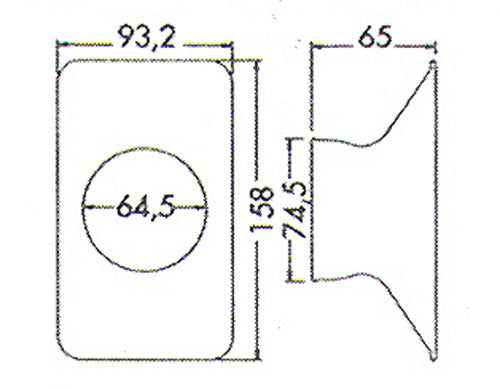
81304AS.1 - TRYSKA OBDELNÍK ANTISTATICKÁ


Cena:
Prodejní cena222,56 Kč bez DPH
Skladem:
Na skladě

Popis

2 1/2" obdelníková tryska antistatická (černá)

Rozměry 15,24x8,89 cm