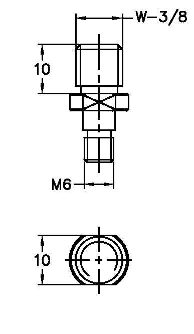
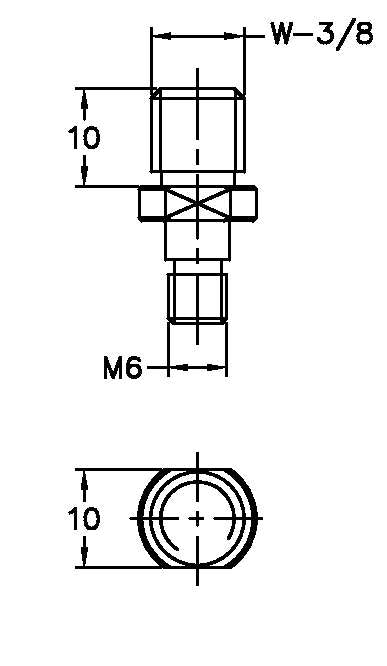
UP006200 - UPNUTÍ (dříve AD6030)

NOGAUP006200

Cena:
Prodejní cena301,97 Kč bez DPH
Skladem:
Na skladě

Popis

3/8" x M6 - dolní část ramene.