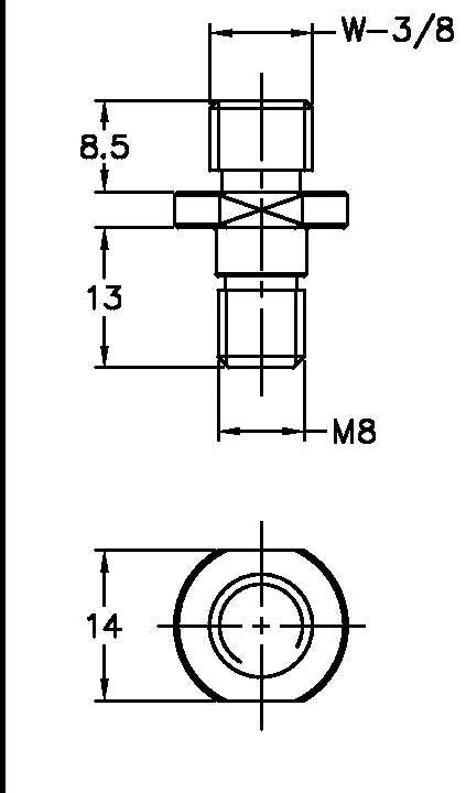
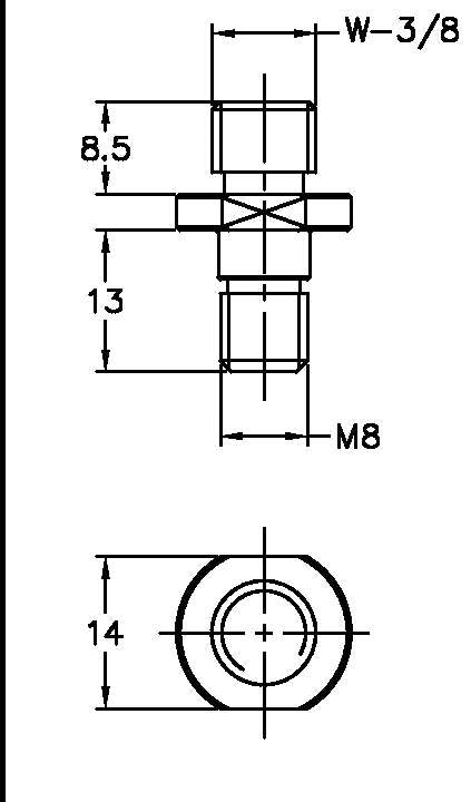
UP006400 - UPNUTÍ (dříve AD8030)

NOGAUP006400

Cena:
Prodejní cena301,97 Kč bez DPH
Skladem:
Na skladě

Popis

3/8" x M8 - dolní část ramene.